BÀI 6: PEPTIT - PROTEIN Mục tiêu Kiến thức
+ Nêu được khái niệm, định nghĩa, đặc điểm cấu tạo phân tử của protein và peptit.
+ Trình bày được tính chất hoá học của peptit (phản ứng thuỷ phân).
+ Chỉ ra được vai trò của protein đối với sự sống.
+ Trình bày được tính chất của protein (sự đông tụ, phản ứng thuỷ phân, phản ứng màu của protein với Cu(OH)2). Kĩ năng
+ Viết được các phương trình hoá học minh hoạ tính chất hoá học của peptit và protein.
+ Phân biệt được dung dịch protein với chất lỏng khác.
+ Giải được bài tập hoá học có liên quan dựa theo phương trình hoá học và các định luật bảo toàn.
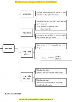
I. LÍ THUYẾT TRỌNG TÂM A. PEPTIT 1. Khái niệm a. Khái niệm
Peptit là những hợp chất chứa từ 2 đến 50 gốc -amino axit liên kết với nhau bằng liên kết peptit.
Liên kết peptit là liên kết
giữa hai đơn vị -amino axit. Nhóm
giữa hai đơn vị -amino axit được gọi là nhóm peptit. b. Phân loại
Oligopeptit chứa từ 2 đến 10 gốc -amino axit.
Đipeptit: chứa 2 gốc -amino axit.
Tripeptit: chứa 3 gốc -amino axit.
Tetrapeptit: chứa 4 gốc -amino axit.
Polipeptit chứa từ 11 đến 50 gốc -amino axit. c. Danh pháp
Tên gốc axyl của -amino axit đầu N + Tên gốc -amino axit đầu C. Ví dụ:
Tên gọi: Glyxylalanin. Viết tắt: Gly-Ala.
Chú ý: -amino axit đầu N còn nhóm NH2.
-amino axit đầu C còn nhóm COOH.
2. Tính chất hoá học
Phản ứng thuỷ phân:
Phản ứng thuỷ phân hoàn toàn: Peptit -amino axit
Phản ứng thuỷ phân không hoàn toàn: Peptit Peptit ngắn hơn Phản ứng màu biure:
Trong môi trường kiềm, peptit từ hai liên kết peptit trở lên tác dụng với Cu(OH)2 cho hợp chất màu tím đặc trưng.
Chú ý: Đipeptit chỉ có một liên kết peptit nên không có phản ứng màu biure.
Dùng để nhận biết đipeptit với các peptit khác. B. PROTEIN 1. Khái niệm a. Khái niệm
Protein là những polipeptit cao phân tử có phân tử khối từ vài chục nghìn đến vài triệu. b. Phân loại
Protein đơn giản: khi thuỷ phân chỉ cho hỗn hợp các -amino axit.
Ví dụ: Anbumin trong lòng trắng trứng,…
Protein phức tạp: tạo thành protein đơn giản cộng với thành phần “phi protein”.
Ví dụ: Lipoprotein chứa trong chất béo…
2. Tính chất vật lí Nhiều protein Dung dịch keo Đông tụ.
Ví dụ: Lòng trắng trứng hoà tan trong nước, khi đun sôi sẽ đông tụ lại. Protein
Đông tụ hoặc kết tủa.
3. Tính chất hoá học
Phản ứng thuỷ phân: tương tự peptit.
Phản ứng màu biure cho hợp chất có màu tím đặc trưng.
Chú ý: Đây là phản ứng dùng để nhận biết protein.
4. Vai trò của protein đối với sự sống
Protein là cơ sở tạo nên sự sống.
Protein là thành phần chính trong thức ăn của người và động vật.
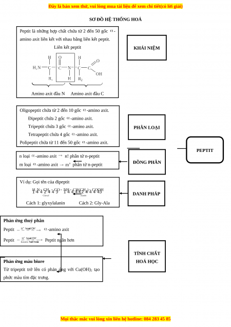
SƠ ĐỒ HỆ THỐNG HOÁ
Peptit là những hợp chất chứa từ 2 đến 50 gốc -
amino axit liên kết với nhau bằng liên kết peptit. Liên kết peptit KHÁI NIỆM
Amino axit đầu N Amino axit đầu C
Oligopeptit chứa từ 2 đến 10 gốc -amino axit.
Đipeptit chứa 2 gốc -amino axit.
Tripeptit chứa 3 gốc -amino axit. PHÂN LOẠI
Tetrapeptit chứa 4 gốc -amino axit.
Polipeptit chứa từ 11 đến 50 gốc -amino axit. PEPTIT n loại -amino axit n! phân tử n-peptit ĐỒNG PHÂN m loại -amino axit phân tử n-peptit
Ví dụ: Gọi tên của đipeptit DANH PHÁP
Cách 1: glyxylalanin Cách 2: Gly-Ala
Phản ứng thuỷ phân Peptit -amino axit Peptit Peptit ngắn hơn TÍNH CHẤT Phản ứng màu biure HOÁ HỌC
Từ tripeptit trở lên có phản ứng với Cu(OH)2 tạo
phức màu tím đặc trưng.
Protein là những polipeptit cao phân tử có phân KHÁI NIỆM
tử khối từ vài chục nghìn đến vài triệu.
Protein đơn giản: khi thuỷ phân chỉ cho hỗn hợp các -amino axit.
Ví dụ: anbumin của lòng trắng trứng fibroin của tơ tằm PHÂN LOẠI
Protein phức tạp: tạo thành từ protein đơn giản
cộng với thành phần “phi protein”. Nhiều protein Dung dịch keo PROTEIN Đông tụ TÍNH CHẤT VẬT LÝ Protein
Phản ứng thuỷ phân
Protein có phản ứng thuỷ phân tương tự peptit. TÍNH CHẤT HOÁ HỌC Phản ứng màu biure
Protein có phản ứng màu biure với Cu(OH)2
Dùng để nhận biết protein.
II. CÁC DẠNG BÀI TẬP
Chuyên đề luyện thi Hóa học 12 năm 2023 cực hay - Phần 3: Protein
657
329 lượt tải
MUA NGAY ĐỂ XEM TOÀN BỘ TÀI LIỆU
CÁCH MUA:
- B1: Gửi phí vào TK:
1133836868- CT TNHH DAU TU VA DV GD VIETJACK - Ngân hàng MB (QR) - B2: Nhắn tin tới Zalo VietJack Official ( nhấn vào đây ) để xác nhận thanh toán và tải tài liệu - giáo án
Liên hệ ngay Hotline hỗ trợ: 084 283 45 85
Tài liệu được cập nhật liên tục trong gói này từ nay đến hết tháng 6/2023. Chúng tôi đảm bảo đủ số lượng đề đã cam kết hoặc có thể nhiều hơn, tất cả có BẢN WORD, LỜI GIẢI CHI TIẾT và tải về dễ dàng.
Để tải tài liệu gốc về máy bạn click vào nút Tải Xuống ở trên!
Thuộc bộ (mua theo bộ để tiết kiệm hơn):
- Tailieugiaovien.com.vn giới thiệu bộ chuyên đề luyện thi môn Hóa học 12 bao gồm: "Phần 3: Amin, Amino Axit Và Protein" mới nhất năm 2022 - 2023 nhằm giúp Giáo viên có thêm tài liệu tham khảo chuyên đề luyện thi Hóa học 12.
- File word có lời giải chi tiết 100%.
- Mua trọn bộ sẽ tiết kiệm hơn tải lẻ 50%.
Đánh giá
4.6 / 5(657 )5
4
3
2
1
Trọng Bình
Tài liệu hay
Giúp ích cho tôi rất nhiều
Duy Trần
Tài liệu chuẩn
Rất thích tài liệu bên VJ soạn (bám sát chương trình dạy)
TÀI LIỆU BỘ BÁN CHẠY MÔN Hóa Học
Xem thêmTÀI LIỆU BỘ BÁN CHẠY Lớp 12
Xem thêmTài liệu bộ mới nhất

Đây là bản xem thử, vui lòng mua tài liệu để xem chi tiết(có lời giải)
BÀI 6: PEPTIT - PROTEIN
Mục tiêu
Kiến thức
+ Nêu được khái niệm, định nghĩa, đặc điểm cấu tạo phân tử của protein và peptit.
+ Trình bày được tính chất hoá học của peptit (phản ứng thuỷ phân).
+ Chỉ ra được vai trò của protein đối với sự sống.
+ Trình bày được tính chất của protein (sự đông tụ, phản ứng thuỷ phân, phản ứng màu của
protein với Cu(OH)
2
).
Kĩ năng
+ Viết được các phương trình hoá học minh hoạ tính chất hoá học của peptit và protein.
+ Phân biệt được dung dịch protein với chất lỏng khác.
+ Giải được bài tập hoá học có liên quan dựa theo phương trình hoá học và các định luật bảo
toàn.
I. LÍ THUYẾT TRỌNG TÂM
A. PEPTIT
1. Khái niệm
a. Khái niệm
Peptit là những hợp chất chứa từ 2 đến 50 gốc -amino axit liên kết với nhau bằng liên kết peptit.
Liên kết peptit là liên kết giữa hai đơn vị -amino axit.
Nhóm giữa hai đơn vị -amino axit được gọi là nhóm peptit.
b. Phân loại
Oligopeptit chứa từ 2 đến 10 gốc -amino axit.
Đipeptit: chứa 2 gốc -amino axit.
Tripeptit: chứa 3 gốc -amino axit.
Tetrapeptit: chứa 4 gốc -amino axit.
Polipeptit chứa từ 11 đến 50 gốc -amino axit.
c. Danh pháp
Tên gốc axyl của -amino axit đầu N + Tên gốc -amino axit đầu C.
Ví dụ:
Tên gọi: Glyxylalanin.
Viết tắt: Gly-Ala.
Chú ý: -amino axit đầu N còn nhóm NH
2
.
-amino axit đầu C còn nhóm COOH.
2. Tính chất hoá học
Mọi thắc mắc vui lòng xin liên hệ hotline: 084 283 45 85

Đây là bản xem thử, vui lòng mua tài liệu để xem chi tiết(có lời giải)
Phản ứng thuỷ phân:
Phản ứng thuỷ phân hoàn toàn:
Peptit -amino axit
Phản ứng thuỷ phân không hoàn toàn:
Peptit Peptit ngắn hơn
Phản ứng màu biure:
Trong môi trường kiềm, peptit từ hai liên kết peptit trở lên tác dụng với Cu(OH)
2
cho hợp chất màu tím
đặc trưng.
Chú ý: Đipeptit chỉ có một liên kết peptit nên không có phản ứng màu biure.
Dùng để nhận biết đipeptit với các peptit khác.
B. PROTEIN
1. Khái niệm
a. Khái niệm
Protein là những polipeptit cao phân tử có phân tử khối từ vài chục nghìn đến vài triệu.
b. Phân loại
Protein đơn giản: khi thuỷ phân chỉ cho hỗn hợp các -amino axit.
Ví dụ: Anbumin trong lòng trắng trứng,…
Protein phức tạp: tạo thành protein đơn giản cộng với thành phần “phi protein”.
Ví dụ: Lipoprotein chứa trong chất béo…
2. Tính chất vật lí
Nhiều protein Dung dịch keo Đông tụ.
Ví dụ: Lòng trắng trứng hoà tan trong nước, khi đun sôi sẽ đông tụ lại.
Protein Đông tụ hoặc kết tủa.
3. Tính chất hoá học
Phản ứng thuỷ phân: tương tự peptit.
Phản ứng màu biure cho hợp chất có màu tím đặc trưng.
Chú ý: Đây là phản ứng dùng để nhận biết protein.
4. Vai trò của protein đối với sự sống
Protein là cơ sở tạo nên sự sống.
Protein là thành phần chính trong thức ăn của người và động vật.
Mọi thắc mắc vui lòng xin liên hệ hotline: 084 283 45 85

Đây là bản xem thử, vui lòng mua tài liệu để xem chi tiết(có lời giải)
SƠ ĐỒ HỆ THỐNG HOÁ
Mọi thắc mắc vui lòng xin liên hệ hotline: 084 283 45 85
KHÁI NIỆM
Peptit là những hợp chất chứa từ 2 đến 50 gốc -
amino axit liên kết với nhau bằng liên kết peptit.
Liên kết peptit
Amino axit đầu N Amino axit đầu C
PEPTIT
PHÂN LOẠI
Oligopeptit chứa từ 2 đến 10 gốc -amino axit.
Đipeptit chứa 2 gốc -amino axit.
Tripeptit chứa 3 gốc -amino axit.
Tetrapeptit chứa 4 gốc -amino axit.
Polipeptit chứa từ 11 đến 50 gốc -amino axit.
ĐỒNG PHÂN
DANH PHÁP
TÍNH CHẤT
HOÁ HỌC
n loại -amino axit n! phân tử n-peptit
m loại -amino axit phân tử n-peptit
Ví dụ: Gọi tên của đipeptit
Cách 1: glyxylalanin Cách 2: Gly-Ala
Phản ứng thuỷ phân
Peptit -amino axit
Peptit Peptit ngắn hơn
Phản ứng màu biure
Từ tripeptit trở lên có phản ứng với Cu(OH)
2
tạo
phức màu tím đặc trưng.

Đây là bản xem thử, vui lòng mua tài liệu để xem chi tiết(có lời giải)
II. CÁC DẠNG BÀI TẬP
Mọi thắc mắc vui lòng xin liên hệ hotline: 084 283 45 85
PROTEIN
KHÁI NIỆM
Protein là những polipeptit cao phân tử có phân
tử khối từ vài chục nghìn đến vài triệu.
Protein đơn giản: khi thuỷ phân chỉ cho hỗn hợp
các -amino axit.
Ví dụ: anbumin của lòng trắng trứng
fibroin của tơ tằm
Protein phức tạp: tạo thành từ protein đơn giản
cộng với thành phần “phi protein”.
Nhiều protein Dung dịch keo
Đông tụ
Protein
Phản ứng thuỷ phân
Protein có phản ứng thuỷ phân tương tự peptit.
Phản ứng màu biure
Protein có phản ứng màu biure với Cu(OH)
2
Dùng để nhận biết protein.
PHÂN LOẠI
TÍNH CHẤT
VẬT LÝ
TÍNH CHẤT
HOÁ HỌC

Đây là bản xem thử, vui lòng mua tài liệu để xem chi tiết(có lời giải)
Dạng 1: Lí thuyết trọng tâm
Ví dụ mẫu
Ví dụ 1: Số gốc -amino axit trong phân tử tripeptit mạch hở là
A. 4. B. 2. C. 3. D. 5.
Hướng dẫn giải
Đipeptit được tạo thành từ 2 gốc -amino axit.
Tripeptit được tạo thành từ 3 gốc -amino axit.
Tetrapeptit được tạo thành từ 4 gốc -amino axit.
Pentapeptit được tạo thành từ 5 gốc -amino axit.
Chọn C.
Chú ý: Giả sử peptit được tạo thành từ n gốc -amino axit thì số liên kết peptit (NH – CO) là: n – 1
Ví dụ 2: Thuốc thử dùng để phân biệt Gly-Ala-Gly và Gly-Ala là
A. dung dịch NaCl. B. dung dịch NaOH.
C. dung dịch HCl. D. Cu(OH)
2
trong môi trường kiềm.
Hướng dẫn giải
Thuốc thử dùng để phân biệt Gly-Ala-Gly và Gly-Ala là Cu(OH)
2
trong môi trường kiềm:
Gly-Ala-Gly là tripeptit nên có phản ứng màu biure với Cu(OH)
2
tạo phức màu tím.
Gly-Ala không có hiện tượng gì vì đipeptit không có phản ứng màu biure với Cu(OH)
2
.
Chọn D.
Ví dụ 3: Đipeptit X có công thức: H
2
NCH
2
CONHCH(CH
3
)COOH. Tên gọi của X là
A. alanylglixyl. B. alanylglixin. C. glyxylalanin. D. glyxylalanyl.
Hướng dẫn giải
Ta có:
X có tên là glyxylalanin hoặc Gly-Ala.
Chọn C.
Ví dụ 4: Số tripeptit mạch hở khi thuỷ phân hoàn toàn thu được ba loại -amino axit: Gly, Ala, Val là
A. 2. B. 3. C. 4. D. 6.
Hướng dẫn giải
Cách 1: Liệt kê
Khi thuỷ phân hoàn toàn tripeptit thu được ba loại -amino axit nên tripeptit phải được tạo thành từ ba
loại -amino axit: Gly, Ala, Val.
G-A-V; G-V-A; A-G-V; A-V-G; V-A-G; V-G-A
Cách 2: Sử dụng công thức tính nhanh
Tripeptit phải được tạo thành từ ba loại -amino axit: Gly, Ala, Val nên số tripeptit thoả mãn là:
3! = 6.
Chọn D.
Mọi thắc mắc vui lòng xin liên hệ hotline: 084 283 45 85
